
The Alliance 32 Meter ZZ Boom is a specialist in working inside existing structures due to its low unfolding height. Its extreme versatility allows it to work under bridge decks, power-lines, or any other situation where the operator has to deal with overhead obstructions.
Specifications

Range Diagram

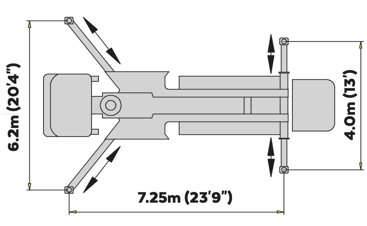
Outrigger Spread

